Ferrari's first EV will pioneer new tech
Italian marque's highly anticipated electric supercar will only arrive once technology is sophisticated enough.
The first electric Ferrari, which is tipped to arrive after 2025, will utilise new technology to ensure it can deliver on the brand’s heritage, commercial boss Enrico Galliera has said.
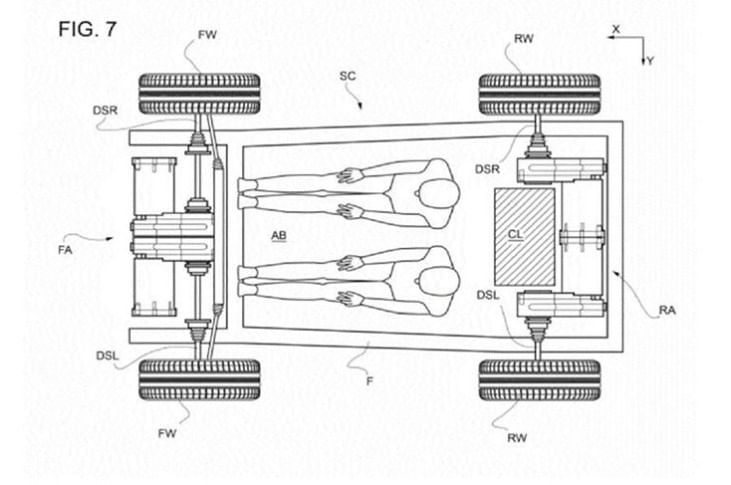
The Italian firm has yet to confirm any plans or a timeline for its first EV, although leaked patents earlier this year hint that it’s working on a four-wheel-drive two-seater with a motor mounted to each wheel.
Galliera ruled out an electric Ferrari for at least five years and was adamant that this plan wouldn’t be accelerated by the arrival of new luxury super-EV makers such as Pininfarina.
“There are some competitors entering the market with new technology that we will look at, but will that be a problem to Ferrari? I think not, because of the specific niche Ferrari targets,” Galliera told Autocar UK.
“And will that trigger interest in that market for Ferrari? No. We firmly believe that battery technology is not yet developed enough to meet the needs of a supercar. In the next five years, we do not believe the technology will be able to meet the needs of a Ferrari.”
However, when asked if the company would be able to continue to operate in the UK if the planned sales ban on non-electric cars is introduced in 2032, Galliera said: “We will meet all the regulations that will come into force to compete in a market, and we don’t believe that such regulations will force us to make special plans.”
Galliera didn’t rule out a Ferrari EV but said the timeline for one is purely dependent on technical developments.
Ferrari recently filed EV-related patents.
He said: “As soon as electrified technology is developed, that will allow us to produce a car that fits with our position. Then why not? But the key is the technology: we will not just make a Ferrari that’s electric for the sake of it.
“If we bring in new technology, then we need to bring something new to the market. That’s how Ferrari has always worked with new technology. The evolution of new technology is 100% in the DNA of Ferrari.”
Galliera added that the new SF90 Stradale plug-in hybrid has shown that Ferrari buyers are open to electrified technology, saying: “We have clients who love using EV mode early in the morning to leave the house silently, then can use the engine and hear the Ferrari sound on the road.”
Engine noise has long been a key part of Ferrari’s ‘emotional’ offering. When asked how the firm will deal with this for an EV, Galliera said: “That is a very interesting question. We are working hard on this, but I will not say if we have yet found the solution or not.
“But when the time comes for Ferrari to do, it will have an answer – and I promise you it will be an elegant answer.”
READ MORE
Details of Ferrari's first EV revealed in patent sketches
SF90 Stradale hybrid is most powerful Ferrari road car yet
Pininfarina to launch range of luxury EVs before 2025
RELATED ARTICLES
Autoliv Plans JV for Advanced Safety Electronics With China’s HSAE
The new joint venture, which is to be located strategically near Shanghai and close to several existing Autoliv sites in...
JLR to Restart Production Over a Month After September Hacking
Manufacturing operations at the Tata Group-owned British luxury car and SUV manufacturer were shut down following a cybe...
BYD UK Sales Jump 880% in September to 11,271 units
Sales record sets the UK apart as the largest international market for BYD outside of China for the first time. The Seal...




17 May 2020
6784 Views
Ajit Dalvi
